为激发LETOU官网大学生计算机程序设计学习的兴趣,提高学生综合运用基础知识进行算法设计、分析和编程实现的能力,增强LETOU官网学科竞赛氛围,提高学生分析问题、解决问题的能力,展示LETOU官网大学生程序设计创新水平,我院与信息工程学院联合举办2023年LETOU国际米兰官网大学生程序设计大赛。

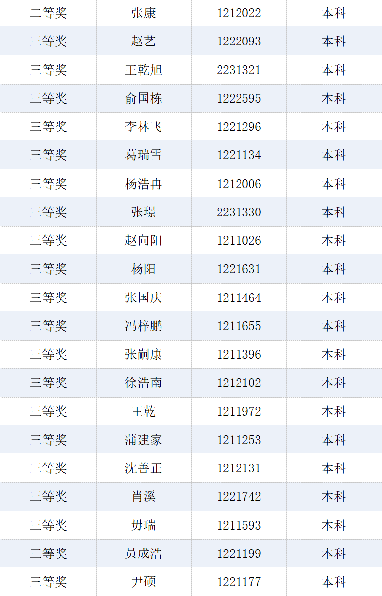
近300名同学报名参加了比赛。最终,经过激烈角逐,巨锦莉等10名同学获得一等奖;梁昕等30名同学获得二等奖;赵艺等40名同学获得三等奖。
比赛于11月30日晚,在2号实训楼四楼、五楼举办。比赛采用个人赛制,学生可自主选择Java、C/C++或Python中的一种计算机语言参加比赛。
现场通过大屏幕实时显示各位选手的积分情况,气氛紧张而热烈。在知晓自己分数的同时,参赛选手可以了解到身边其他选手的得分情况,这使得比赛现场充满了竞争和挑战的氛围。选手们的抗压能力得到了极大的考验,他们需要保持冷静,迅速调整心态,以应对不断变化的比赛情况。这种紧张而富有挑战性的氛围,不仅激发了选手们的斗志,还培养了他们在压力下保持镇定、机智应变的心理素质。
按照比赛规则,答题用时最短者会获得精美气球和美味零食奖励!获胜的参赛者们带着喜悦和自豪的微笑,举着气球和美食奖励,展示着他们的才华和速度。他们也成为了其他参赛者们学习的榜样。这些获胜者们用他们的实力证明了,只要拥有才华和努力,就能在比赛中脱颖而出,获得属于他们的荣耀。
本次程序设计大赛的成功举办,不仅为LETOU官网学生提供了一个展示才华的平台,也促进了同学们对计算机科学的深入学习和探索。通过比赛,同学们不仅提高了编程技能和算法设计能力,还结识了许多志同道合的朋友。他们互相学习、互相鼓励,共同进步。
2023年LETOU国际米兰官网
程序设计大赛获奖名单

